Förtur till mega-rean för medlemmar! Se alla deals

Hoppa över navigation
  • Bosch

    Kort om produkten

    HEZ9VDKR0, RecirkulationssetLäs mer om produkten

    Teknisk specifikation

      Se alla specifikationer

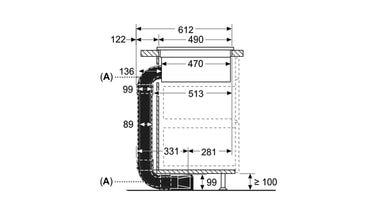
      • Startkit för delvis kolfilterdrift med fläktkanaler för hällar med integrerad fläkt. Passar kök med bänkskiva 70 cm (eller större).
      • Set består av:
      • 2x Vertical 90° “L” böj, platt fläktkanal (hane)
      • 3 anslutningar för att fästa ihop fläktkanaler och böjar (hona)
      • Rak fläktkanal (hane, 500 mm)
      • Diffusor som kan anslutas till platta kanaler och som sprider luften i sockeln, för en delvis recirkulationslösning med fläktkanaler.
      • Startsetet möjliggör installationer med höjder upp till 960 mm.
      • Detta set överensstämmer med Needle Flame Test (enligt IEC 60695-11-5) och B1 byggnadsmaterialklass (according to DIN 4102-1).